-
188-9835 7350 -
廣東省深圳市龍崗區寶龍二路3號京能科技環保工業園6棟
友情鏈接:
18650鋰電池蓋帽哪部分需要激光焊接,結構是怎么樣的?
我們所說的電池蓋帽,一般是指18650鋰電池蓋帽,一個小小蓋帽也需要激光焊接加工,那到底是哪個部位需要 焊接的,他的結構是怎么樣的,相信很多少接觸這類電池配件的同學不太說明這些原理,甚至連電池蓋帽是啥都 不明白吧,小編做為深圳新華鵬電池蓋帽激光焊接設備的生產廠家一員,其實也不是從事電池技術方面,但對這 方面的知識還是比較了解的,甚至樂觀點比18650鋰電池廠家的技術員更懂一些吧(實在太過份了)。
鋰電池蓋帽其實也有多種類型,但大體結構跟原理都一樣,它起的作用有很多,它能起到鋰電池正極導電,起到 安全閥門的作用,同時也可以封裝電池的結構功能,上面這些功能都由電池蓋帽來負責,其中最重要的作用就是 防止電池氣壓過高,能適時排氣的作用,所以,激光焊接蓋帽的質量要求是比較嚴格的,市場上己經有很多專業 用于焊接電池蓋帽的激光焊接機。
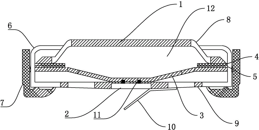
電池蓋帽的結構如下圖所示(不同廠家有所差別,但原理基本是一致的)

18650鋰電池蓋帽包括1、鋼帽;2、連接片;3、防爆片;4、鋁環;5、內環;6、翻卷邊;7、絕緣密封圈;8、泄氣 孔;9、通氣孔;10、極耳;11、凹槽;12、緩沖腔。
其中連接與防爆片是需要激光進行焊接的,它涉及到用戶焊接的點數,有些廠家要求焊接四個點,也有,六個點 或八個點的,其實都是激光脈沖焊接!
電池廠家并不是所有的電池配件都能生產,其實他們都是分工合作的,有些電池廠家只是生產電池蓋帽,有些只 是生產電芯或封裝,像動力電池生產廠家就是采購電芯自己進行封裝的,結果控制線路板,實現鋰電池的拼裝或 串聯,以達到需求的額定功率與容易,動力電池是由多個電池模組拼裝而成,而電池模組則是由多個電芯結合, 這是對大型動力電池而言,小型的動力電池有時可能就只是一個電池模組的大小。

新華鵬在電池焊接加工設備研發生產方面入行還是比較早的,正是其瞄準了國家新能源的發展趨勢,早有10多年 前就一直為之準備,通過不斷的摸索進取,結合新能源汽車電池的實際需求,先后研制生產了電池蓋帽,電池極 耳,動力電池PACK匯流排,電池模組激光焊接設備系統等,己成為國內80%電池生產廠家電池焊接解決方案的 合作伙伴,為國內合作伙伴提供了上千套鋰電池,動力電池的焊接加工自動化解決方案,是國內一線設備生產廠 家,也是深圳市創新技術企業,政府優先支持的重要企業之一!
出于技術保密,更多電池配件激光焊接設備請來我司參觀訪問,歡迎你的光臨!
【以上內容為源創,轉載需注明來源:深圳新華鵬激光設備】